樹枝破碎機價格多少錢?樹枝破碎機有什么優勢?
時間:2021-07-09 15:05:20 作者:雙星機械 點擊:210
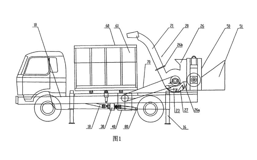
樹枝破碎機設備主要針對直徑250mm以下的樹枝進行破碎破碎,該設備利用刀盤加錘片兩種方式完成對樹枝的破碎作業。樹枝破碎機結構穩定、設備采用柴油動力、輪胎移動方案,方便在各種地形下輕松作業,不需要再為設備電力及設備移動性而擔心,輕松完成園林綠化樹枝剪切料的破碎處理,設備結構簡單、操作方便、破碎效果好、生產率高、定向排料方便運輸等優點。

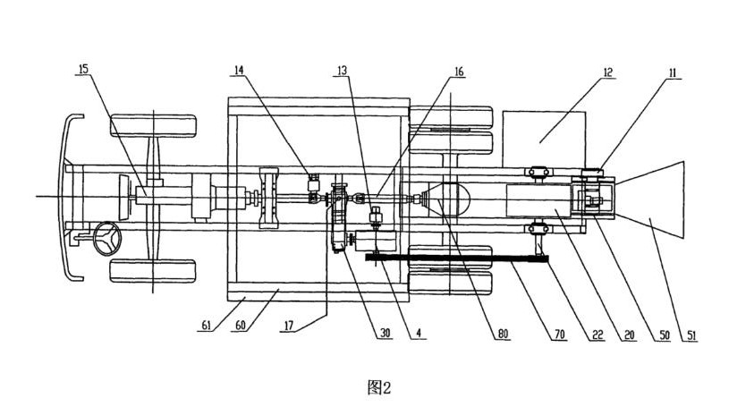
移動樹枝破碎機設備結構包括:
進料壓料裝置、破碎主軸,切削刀盤,錘片結構,排料結構等構成,設備通過刀盤加錘片對樹枝、樹干進行雙重破碎,有效提高設備破碎效率,破碎后的物料可就地拋灑、也可回收利用制板、制顆粒、作為菌類培養基,有效利用木材資源。
進料壓料裝置、破碎主軸,切削刀盤,錘片結構,排料結構等構成,設備通過刀盤加錘片對樹枝、樹干進行雙重破碎,有效提高設備破碎效率,破碎后的物料可就地拋灑、也可回收利用制板、制顆粒、作為菌類培養基,有效利用木材資源。

移動樹枝破碎機的工作原理是:
設備由電動機或柴油機提供動力,通過狼牙輥活動實現樹枝、樹干的均勻喂料,樹干進行破碎腔體后,高速旋轉的動刀盤旋轉從而帶動飛刀旋轉,飛刀將輸送進來的樹枝進行進行切削,切削完的樹枝在風機的作用下到達錘片組端,利用錘片進行再次破碎,破碎完的樹枝達到篩分要求時在篩網中排出,未達到篩分要求時不能從篩網中排出。從而在錘片的作用下繼續破碎直到達到篩分要求,通過篩網從出料口處排出。
設備由電動機或柴油機提供動力,通過狼牙輥活動實現樹枝、樹干的均勻喂料,樹干進行破碎腔體后,高速旋轉的動刀盤旋轉從而帶動飛刀旋轉,飛刀將輸送進來的樹枝進行進行切削,切削完的樹枝在風機的作用下到達錘片組端,利用錘片進行再次破碎,破碎完的樹枝達到篩分要求時在篩網中排出,未達到篩分要求時不能從篩網中排出。從而在錘片的作用下繼續破碎直到達到篩分要求,通過篩網從出料口處排出。
移動式園林樹枝破碎,大大提高園林綠化中樹枝、樹干的粉碎效率,降低人員投入,粉碎后形成厚度5mm左右長度的木屑,經篩片清選,碎木屑從出料口處高速拋出。經破碎處理后的樹枝可作為有機肥、食用菌培養基、密度壓制板材、生物新能源(如沼氣、無煙清潔木炭)等原料,另處還可將破碎后的樹枝還田,鋪到地里可起到防塵的作用。



