小型樹枝粉碎機設備結構圖和刨面圖
時間:2021-05-23 16:19:15 作者:雙星機械 點擊:160
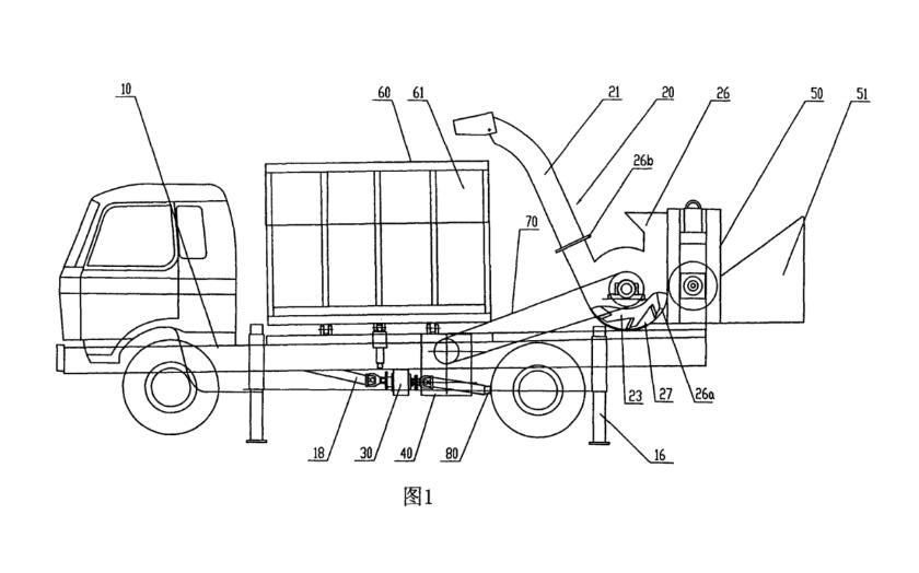
樹枝粉碎機的原理是利用刀盤和錘片將樹枝進行粉碎,并統(tǒng)一運輸處理的園林機械設備,該設備采用移動作業(yè)方案,通過柴油機提供設備動力,整機統(tǒng)一一體化設計,方便客戶在野外、田間不間斷連續(xù)作業(yè)。該設備主要對150mm以下的樹枝、樹干、樹葉秸稈等進行粉碎,該設備由進料動力裝置、壓料裝置、刀盤機錘片結構、排量口等部件組成,整機結構簡單,操作方便,粉碎效果好,生產率高。
優(yōu)點。

樹枝粉碎機工作原理
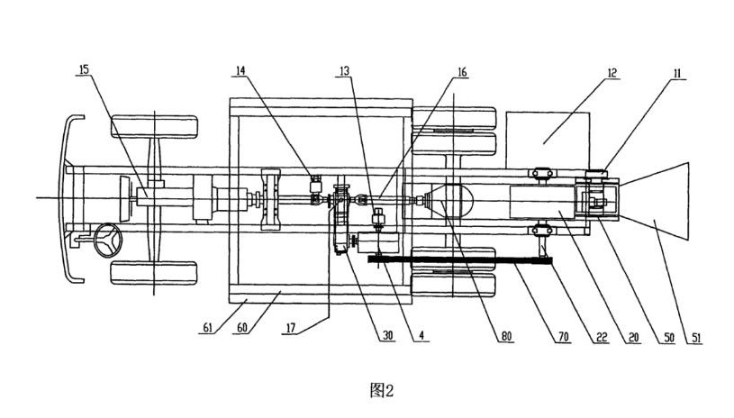
由電動機帶動,將動力傳到轉子組件上,帶動刀盤旋轉從而帶動飛刀旋轉,飛刀將輸送進來的樹枝進行一部分一部分的切削,切削完的樹枝在風機的作用下到達錘片組端,利用錘片進行再次粉碎,粉碎完的樹枝達到篩分要求時在篩網中排出,未達到篩分要求時不能從篩網中排出。從而在錘片的作用下繼續(xù)粉碎直到達到篩分要求,通過篩網從出料口處排出。
由電動機帶動,將動力傳到轉子組件上,帶動刀盤旋轉從而帶動飛刀旋轉,飛刀將輸送進來的樹枝進行一部分一部分的切削,切削完的樹枝在風機的作用下到達錘片組端,利用錘片進行再次粉碎,粉碎完的樹枝達到篩分要求時在篩網中排出,未達到篩分要求時不能從篩網中排出。從而在錘片的作用下繼續(xù)粉碎直到達到篩分要求,通過篩網從出料口處排出。



